Theo dõi Báo Tây Ninh trên
Nhiều khả năng một thiết bị nắp gập có màn hình trong suốt sẽ sớm được hãng này ra mắt trong năm sau.

Mẫu điện thoại nắp gập Galaxy X của Samsung dự kiến được ra mắt vào năm tới. Hiện chưa có nhiều thông tin về Galaxy X, tuy nhiên từ một vài bằng sáng chế vừa được cấp phép của Samsung, người ta đã phần nào hình dung ra hình dáng mẫu điện thoại này.

Bằng sáng chế vừa lộ diện về công nghệ dùng cho thiết bị nắp gập của Samsung.
Những hình ảnh minh họa cho thấy Galaxy X được thiết kế dưới dạng nằm ngang. Điều này không giống với những hình ảnh trước đó khi mẫu điện thoại này được miêu tả với những chiều hướng khác.
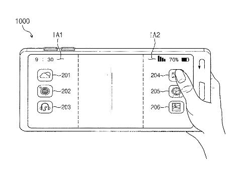
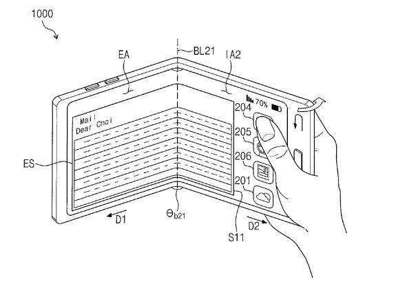
Từ hình ảnh mới, có thể thấy máy sẽ được sử dụng theo chiều ngang. Phần bản lề của máy được đặt dọc ở chính giữa. Người dùng có thể tắt máy bằng cách gập lại, cũng có thể khởi động thiết bị bằng cách lật mở phần nắp gập.

Thiết bị nắp gập này có phần bản lề ở chính giữa.

Người dùng có thể mở máy ra để khởi động thiết bị và biến nó trở thành một tấm màn hình liền khối.

Khi không cần sử dụng, chỉ cần gập đôi lại để đưa máy về trạng thái ngủ.

Khi kích hoạt một ứng dụng, giao diện của nó sẽ bật mở và có thể chiếm diện tích của cả 2 phần màn hình.

Rất có thể công nghệ này sẽ xuất hiện trên Galaxy X vào năm tới.
Không giống với những chiếc điện thoại nắp gập thông thường, phần bản lề của Galaxy X sẽ được thiết kế đặc biệt nhằm đáp ứng các tính năng của màn hình cảm ứng. Bản vẽ cũng cho thấy biểu tượng các ứng dụng xuất hiện ở phần mặt trong của 2 tấm màn hình. Khi truy cập vào một ứng dụng, nội dung hiển thị được bật mở và lấp kín cả 2 phần màn hình.
Samsung cũng mới nhận được bằng sáng chế về một tấm nền màn hình trong suốt cho điện thoại. Trước đó, hãng này từng giới thiệu một tấm nền màn hình trong suốt kích cỡ lớn vào năm 2015. Điều này khiến chúng ta có thể hình dung cách mà Samsung đưa công nghệ này vào một tấm nền màn hình dùng cho di động. Tấm nền màn hình này cũng có thể được sử dụng cho công nghệ tương tác thực tế ảo (AR).
Nguồn vietnamnet (Theo Phonearena)